- Compositionde l’équipe
Lors d'un tournoi, une équipe peut inscrire jusqu’à 12 joueurs au plus, dans une catégorie au début de la compétition. Parmi eux, une équipe de 10 membres au maximum doit être engagée pour chaque match du tournoi. Ces joueurs de l’équipe sont divisés en un maximum de 6 joueurs et 4 remplaçants pouvant être utilisés à n'importe quel moment. Les joueurs du groupe qui n'ont pas été choisis pour un match particulier sont appelés les "réserves".
Dans le cas d'un accident ou d'une blessure d'un joueur nécessitant un arrêt de jeu et une aide au joueur blessé pour regagner le bord du bassin, le capitaine de l'équipe concernée doit demander et obtenir l'autorisation verbale de l'arbitre principal pour utiliser un remplaçant.
En cas de blessure lors d'un match, un joueur de réserve ne peut pas être utilisé pour ce match.
Un joueur qui quitte le terrain de jeux ou les abords du terrain de jeu à cause d'une blessure, après avoir reçu des soins, peut retourner dans le match à la discrétion de l'arbitre principal.
Dans le cas d'une blessure ou d'une maladie confirmée par un certificat médical, les membres du groupe peuvent être remplacés pour toute la durée du tournoi.
Durant le jeu, l'équipe est autorisée à disposer de 3 personnes au plus, pour l'assister sur le bassin. L'une d'entre elles peut être dans l'eau, sur une ligne de touches et les deux autres dans la zone des remplaçants. Un de ces deux assistants peut sortir de la zone des remplaçants et aller derrière la ligne de but, à tout moment. Si l'équipe décide de n'avoir aucune personne dans l'eau, elle n'a droit qu'à deux 2 personnes dans la zone des remplaçants et derrière les lignes de but.
- Identification de l’équipe
Tous les joueurs de chaque équipe doivent porter des habits de bain identiques (maillots, lycra,...). Ils peuvent être marqués des couleurs et du nom de l’équipe. Les équipes devront avoir deux jeux d'habits; un jeu dans les tons clairs lorsque l'équipe utilise des crosses blanches et un jeu dans les tons sombres lorsque l'équipe utilise des crosses noires. Les deux jeux devront recevoir l'approbation du Commissaire de Compétition avant l'arrivée de l'équipe à la compétition.
Les 10 joueurs de chaque équipe doivent porter un bonnet, noir (ou bleu foncé) ou blanc, assorti à la couleur des crosses utilisées par l’équipe. Les bonnets doivent avoir un numéro différent, compris entre 1 et 15 pour chaque joueur du groupe.
Le Capitaine de chaque équipe devra porter la lettre "C" sur chaque bras au-dessus du numéro. La taille de cette lettre sera identique à la taille du numéro. De même, le vice-capitaine devra porter les lettres "VC".
- Equipement personnel et la crosse
Chaque joueur doit être équipé d'un masque, avec verre de sécurité ou autre matériau de sécurité; d'un tuba sans partie métallique et pliable, d'une paire de palmes conventionnelles de hockey subaquatique (faites en caoutchouc ou d'une autre matière synthétique pliable non dangereuse) approuvée par l’autorité compétente, d’une protection buccale approuvée, de protections pour les mains qui tiennent la crosse, et d'une crosse de hockey subaquatique.
La protection buccale est un accessoire non blessant permettant de protéger l’ensemble de la bouche et lié au tuba. Vue de face, l’accessoire doit recouvrir entièrement les lèvres.
Le masque doit comporter deux vitres séparées à moins qu'il ait un renfort rigide au centre faisant partie de l'armature du masque (les masques de petites tailles destinés aux catégories cadets, minimes, et benjamins pourront faire exception à cette règle).Les masques de type « Sphéra » sont interdits.
Les protections des mains (ex. gants) ne doivent pas contenir des matériaux de renfort rigides ou coupants.
Les gants utilisés pour la protection des mains ne peuvent pas avoir les doigts palmés ou toute autre conception qui faciliterait la natation.
Les protections des mains (c.-à-d. gants) doivent avoir des couleurs franchement contrastantes par rapport à celles de la crosse et du palet utilisé pour le match. C'est pour éviter une confusion si le palet est joué avec le poing. Les joueurs ne doivent pas porter de gants dont la couleur peut être confondue avec celle des arbitres aquatiques utilisés en compétition, qui seront toujours jaune ou orange. Nota: Lors des Championnats du Monde, le palet doit être orange ou rose (cf règle 12.5.6.4), c'est pourquoi sur certain Championnats du Monde, et à la discrétion de l'Arbitre en chef, le rose ne sera pas autorisé pour les gants.
On doit porter des bonnets avec des protections d'oreilles en polyéthylène ou en caoutchouc résistants.
On peut aussi utiliser des protections aux coudes ou aux genoux, sous réserve qu'elles soient en matière souple.
On ne doit pas utiliser de combinaison de plongée ou de ceinture de plomb.
- La Crosse
Matériaux: Une crosse de hockey subaquatique doit être faite à partir du bois ou du plastique ou autre matériau approuvé par l’autorité compétente.
Dimensions: La crosse doit entrer entièrement dans un gabarit dont les dimensions intérieures sont 100mm x 350mm x 50mm.
Conception: La crosse ne doit pas pouvoir entourer ni le palet ni une partie de la main, ni permettre l’encastrement de plus de 50% du palet, ni le verrouillage du palet à la crosse. La crosse ne doit pas dépasser le bord interne (côté petit doigt) de la main gantée de plus de 25 mm.
Sécurité: On doit considérer la crosse comme non dangereuse. Elle doit être structurellement saine et les bords où les surfaces qui se croisent doivent être arrondis tel qu'ils ne blessent pas. Si l'Arbitre Principal ou l'Arbitre Aquatique décident que la crosse peut blesser, la crosse peut être enlevée du jeu pour ce match.
Couleur: La crosse doit être uniformément noire ou blanche, cependant, elle peut comporter un symbole discret et simple, ou des initiales dans une couleur en contraste pour son identification. Si l'arbitre principal ou un arbitre aquatique détermine que ce symbole ou ces initiales créent une confusion quant à la couleur de la crosse, la crosse pourra être retirée du match.
La crosse peut être attachée à la main qui joue de façon à ne pas causer de blessure.
"La surface de jeu" de la crosse est la surface non couverte par la main gantée en avant du pouce et de l'index qui tient la crosse. Le palet ne peut pas être joué avec la partie de la crosse qui pourrait dépasser le bord interne de la main gantée.
- La crosse doit rentrer dans un gabarit de 100 mm x 350 mm x 50mm
- Arrondis minimums des coins de la surface plane de la crosse : 10 mm
- Les angles et arêtes doivent être arrondis
- La crosse est uniformément noire ou blanche
- La crosse peut avoir n'importe quelle forme ou dessin dans les dimensions minimales ou maximales données. L'illustration est seulement un guide. Des protubérances sur la crosse sont autorisées
- La crosse ne doit pas pouvoir entourer le palet ou une partie de la main ni permettre l’encastrement de plus de 50 % du palet, ni le verrouillage du palet à la crosse.
- Les officiels et leur équipement
- Nombre, titres, et qualifications
Les officiels qui contrôlent une rencontre de hockey subaquatique sont : un arbitre principal, deux ou de préférence trois arbitres aquatiques, des marqueurs et des chronométreurs, et tout autre officiel désigné par l'arbitre principal.
Les marqueurs et les chronométreurs doivent être des arbitres qualifiés par leur fédération.
- Fonctions de l'arbitre principal
L'arbitre principal assure ses fonctions, positionné sur le bord de la piscine d'où on a une vision ininterrompue de la zone de jeu.
L'arbitre principal est responsable de :
- Tous les aspects et la conduite globale du match.
- Informer les équipes qui s'affrontent sur les conditions particulières du match.
- Donner les signaux de départ et d'arrêt du match selon les règles
- Observer toutes les infractions aux règles qui sont seulement visibles au-dessus de l'eau, et attribuer les pénalités appropriées aux fautifs.
- Arrêter et redémarrer le match suite à une suspension de temps ou à un temps-mort.
- Vérifier que les remplacements se font correctement.
- Autoriser les joueurs pénalisés à rentrer dans l'eau quand les marqueurs/ chronométreurs le lui indiquent.
- Demander les arrêts du chronomètre quand cela est nécessaire.
- Fonctions des arbitres aquatiques
Les arbitres aquatiques assurent leurs fonctions dans l'eau.
Ils sont conjointement responsables de :
- Inspecter l’équipement personnel de tous les joueurs et de l'équipe avant le match.
- Faire respecter les règles à tout moment.
- Signaler à l'arbitre principal d’arrêter le jeu quand un but est marqué.
- Signaler à l'arbitre principal d’arrêter le jeu quand une infraction est commise.
- Attribuer les pénalités appropriées pour les infractions aux règles.
- Assurer le placement correct du palet, et indiquer à l'arbitre principal que le match est prêt à être redémarré.
- Assurer l'alignement des buts en position correcte à tout moment.
- Signaler à l'arbitre principal d'arrêter le jeu en faisant le geste "arrêt de jeu" en cas d'accident ou de blessure, et aider immédiatement le joueur blessé à gagner le bord du bassin.
- Entériner les gestes de l’autre arbitre aquatique.
- Fonctions des marqueurs et des chronométreurs
Les tâches des marqueurs/chronométreurs peuvent être accomplies par une ou plusieurs personnes et doivent être effectuées à un emplacement attenant à celui de l'arbitre principal.
Les responsabilités des marqueurs/chronométreurs sont de :
- Chronométrer tout le match et indiquer à l'arbitre principal la fin de chaque période.
- Chronométrer les joueurs exclus de l'eau pour 2 ou 5 minutes de pénalité, et indiquer à l’arbitre principal quand ils peuvent regagner l'eau.
- Arrêter le chronomètre de temps de jeu à la demande de l'arbitre principal en cas de blessure grave, de discussion entre les arbitres, temps mort, ou autres circonstances spéciales.
- Assurer l'affichage et l'annonce de tous les buts immédiatement après qu'ils ont été validés.
- Annoncer le score final à la fin du match après que la feuille de match a été vérifiée et contre signée par les arbitres.
- Equipements des officiels
L'arbitre principal devra disposer de moyen capable de créer un signal audible au-dessus et au-dessous de la surface de l'eau.
Les arbitres aquatiques devront être équipés: d'un masque, avec verre de sécurité ou autre matériau de sécurité; d'un tuba sans partie métallique et pliable, d'une paire de palmes de hockey subaquatique conventionnelles (faites en caoutchouc ou d'une autre matière synthétique pliable non dangereuse.) approuvées. Les arbitres aquatiques devront aussi porter une tenue facilement identifiable, un bonnet rouge avec des protections d’oreilles, et une paire de gants de couleur vive jaune ou orange.
Le masque doit comporter deux vitres séparées à moins qu'il ait un renfort rigide au centre faisant partie de l'armature du masque.
Les chronométreurs doivent disposer de moyens de chronométrage adapté, suffisants pour chronométrer en même temps le match, et au moins deux joueurs exclus pour un temps de pénalité.
Les marqueurs doivent disposer de moyens adaptés pour enregistrer par écrit les faits du match et d'un affichage du score visible de toute l'aire de jeu.
- Le Palet
Le palet doit avoir un diamètre de 80 mm, + 4 mm et une épaisseur de 30 mm + 4 mm, - 2 mm. Ce sont les dimensions extérieures, qui incluent le palet et éventuellement son enveloppe protectrice.
Les arêtes du palet, qu'il soit recouvert ou non, doivent avoir un rayon de 3 à 10mm.
Le palet doit peser 1,3 kg, + 0,2 kg.
Le palet doit avoir une couleur clairement distincte. On préférera le rose ou l'orange fluo (obligatoire pour les Championnats du Monde)
- Le match
- Règles du jeu
Un match est "en jeu" durant la période comprise entre le début et la fin du match qui sont indiqués par l'arbitre principal. A contrario, il est "hors jeu" pendant un temps mort demandé par une équipe ou un temps mort d'arbitres, pendant le repos entre les périodes de temps, y compris entre les deux mi-temps des prolongations, et pendant le repos qui précède la mort subite.
Un joueur est déclaré “en possession” quand la surface de jeu de la crosse du joueur est en contact avec le palet et que la crosse est tenue par la main qui joue.
Seule la "surface de jeu" de la crosse peut être utilisée pour déplacer le palet. La "surface de jeu" est la partie de la crosse qui n'est pas recouverte par la main du joueur quand la crosse est tenue normalement, en excluant la partie qui pourrait dépasser du bord coté petit doigt.
Le palet ne peut être ni soulevé ni porté en équilibre sur la crosse dans une quelconque direction. Et si le palet se trouve accidentellement soulevé par une crosse, il doit être lâché de la crosse immédiatement.
La crosse peut être tenue, soit par la main droite, soit par la main gauche. Il est permis de changer la main qui joue.
Un joueur peut avoir les deux mains sur la crosse pendant qu’il n’est pas en possession du palet (par exemple s’il adopte une posture hydrodynamique pour sprinter vers le palet au centre du terrain, ou lorsqu’il tente de rattraper une crosse échappée).
La main libre ne doit pas être utilisée pour soutenir la crosse, la main qui tient la crosse ou l’autre bras, pendant que le joueur est en possession.
Pendant le match, le palet peut être poussé ou passé dans n'importe quelle direction dans l'aire de jeu, par le joueur en possession. Voir la Règle 16.2 pour l'exception "Faute pour retarder le jeu".
A aucun moment le joueur ne doit toucher le palet, de la main libre ou de la main qui joue. Si le palet touche par accident le dos de la main qui joue, ceci ne sera pas considéré comme une faute sauf si cela est délibérément fait pour déplacer le palet.
Lorsqu'on pousse le palet avec la crosse, on peut l'appuyer contre l'index avec la main en position naturelle de tenue de crosse.
Lorsque les joueurs nagent en surface, le crawl est autorisé, mais seulement si les autres joueurs ne risquent pas d'être frappés.
Durant le match, les quatre remplaçants doivent être dans la zone des remplaçants de leur équipe.
Les méthodes de remplacements sont définies dans le paragraphe 15.2 des règles.
- Durée de jeu
Un match doit durer 33 minutes. Le match est partagé en deux périodes de 15 minutes et un repos de 3 minutes à la mi-temps.
À la fin de la seconde période de 15 minutes, l'équipe ayant marqué le plus de buts pendant les deux périodes du match sera déclarée gagnante. Si les deux équipes ont marqué le même nombre de buts, le match aboutit à une égalité. Voir la Règle pour des informations complémentaire concernant l'égalité en fin de match.
Les temps de jeu sont les temps maximums. Les organisateurs pourront les réduire. Ils pourront de même supprimer un ou deux temps morts, supprimer les prolongations, et supprimer une mi-temps.
A la mi-temps de 3 minutes, les équipes changent de camp.
Une fois commencé, le décompte du temps est continu jusqu’aux 2 dernières minutes du match et il ne peut être arrêté que par l'arbitre principal en cas de blessure grave, quand il y a le besoin de discuter avec les autres arbitres, ou autre circonstance particulière.
Pendant les 2 dernières minutes du match, et pendant les 2 dernières minutes de la prolongation, le chronomètre du match sera arrêté durant tous les arrêts de jeu, sauf pour les buts.
En cas d'une interruption du jeu avant les 2 dernières minutes du match, et que le chronomètre continu à décompter pour arriver aux 2 dernières minutes du match, le chronomètre doit alors être arrêté. Le chronomètre est relancé au signal de l'arbitre principal de recommencer le jeu.
S'il est nécessaire d'avoir une équipe gagnante et que le match se termine sur un nul, après un repos de 1 minute et sans que les équipes ne changent de camp, le jeu se déroule sans interruption jusqu'à ce qu'un but soit marqué. La première équipe qui marque un but gagne le match (mort subite).
Au début de la mort subite, chaque capitaine désigne un joueur de champ (qui n’est pas en prison) qui devient remplaçant (celui-ci rejoint la zone des remplaçants). Chaque équipe joue donc avec un joueur de champ en moins. Passé 5 minutes, au premier arrêt de jeu, l’arbitre principal signale un temps mort d’arbitre et demande à chaque capitaine de désigner un joueur de champ (qui n’est pas en prison) qui devient remplaçant. La remise en jeu se fera sur l’arrêt de jeu correspondant.
Ceci se répète ensuite toutes les 2 minutes, au maximum trois fois (il ne reste alors qu’un seul joueur par équipe). Durant la mort subite, chaque équipe peut avoir jusqu’à 9 remplaçants qui doivent être dans leur zone des remplaçants. Dans le cas exceptionnel ou une équipe avec moins de deux joueurs dans l’eau se verrait accordé un tir de pénalité, un des remplaçants sera autorisé à rentrer dans le jeu pour la durée du tir de pénalité. Cette règle ne s’applique pas aux catégories jeunes.
Ceci se répète ensuite toutes les 2 minutes, au maximum trois fois (il ne reste alors qu’un seul joueur par équipe). Durant la mort subite, chaque équipe peut avoir jusqu’à 9 remplaçants qui doivent être dans leur zone des remplaçants. Dans le cas exceptionnel ou une équipe avec moins de deux joueurs dans l’eau se verrait accordé un tir de pénalité, un des remplaçants sera autorisé à rentrer dans le jeu pour la durée du tir de pénalité. Cette règle ne s’applique pas aux catégories jeunes.
La mort subite fait partie intégrale du match, et de ce fait, seuls les joueurs déclarés au début du match peuvent jouer la mort subite.
- Temps-mort
Pour toutes les compétitions, on peut demander un temps-mort par équipe et par mi-temps, à la faveur d'un arrêt naturel du jeu. Le temps-mort peut être demandé soit par le capitaine d'équipe, soit par l'entraîneur.
Pour demander un temps-mort, le capitaine ou l'entraîneur attirera l'attention soit d'un arbitre aquatique soit de l'arbitre principal en faisant une demande verbale et en levant les deux bras au-dessus de la tête en forme d'un large "O". L'arbitre principal accepte la requête en répétant le signe et en arrêtant le chronomètre. Les arbitres aquatiques reprennent aussi le signe de temps-mort de l'arbitre principal.
Chaque temps-mort aura une durée de 1 minute. Après 45 secondes, l'arbitre principal donnera un avertissement de 15 secondes.
Le temps-mort est seulement autorisé pendant les deux périodes normales de 15 minutes. Aucun temps-mort ne peut être demandé ni pendant les périodes de 5 minutes de prolongation, ni pendant la période de mort-subite.
Pendant un temps-mort, les joueurs pénalisés (sauf les joueurs expulsés définitivement) et les entraîneurs peuvent rejoindre leur équipe dans le terrain de jeux. À la fin du temps-mort, les joueurs pénalisés doivent être retournés dans la zone de pénalité, et les entraîneurs doivent être sortis de l’aire de jeu.
- Départ du jeu
Au début du match, après une mi-temps, après qu'un but a été marqué ou après qu'un tir de pénalité a été joué, les positions de départ des joueurs de chaque équipe sont dans l'eau, le long de leur ligne de fond respective, chaque joueur ayant au moins une main en contact avec la ligne de but. Cette main doit être visible des officiels.
Les remplaçants de chaque équipe devront être dans leur zone des remplaçants respective, et les joueurs pénalisés éventuels devront être dans la zone de pénalité désignée.
Entre le moment où l’arbitre principal donne le signal de départ du jeu et le moment où le palet rentre "en possession", tous les joueurs, y compris les remplaçants, entrant dans le jeu, doivent démarrer selon la règle 15.1.1. Une fois que le palet est "en possession" les joueurs entrant en jeu depuis leur zone des remplaçants peuvent entrer directement dans le jeu, en appliquant la règle, selon la méthode de remplacement utilisée : sur le côté, dans l’eau ou aux extrémités.
Les positions de départ des officiels du match sont :
- L'arbitre principal sera sur le bord du bassin, approximativement au milieu de la ligne de touche.
- Quand il n'y a que deux arbitres aquatiques, ils seront dans l'eau, au milieu de leur ligne de touche respective. Quand il y a trois arbitres aquatiques: l'un d'eux sera dans l'eau, au milieu de la ligne de touche, du côté de l'arbitre principal. Les deux autres seront dans l'eau, au niveau de l'intersection de la ligne des 2 mètres et de la ligne des 5 mètres, du côté du but qu'ils surveillent lors du départ du jeu, à l'opposé de l'arbitre principal.
Un signal d'avertissement audible sera donné 30 secondes avant le début de chaque période (première période, deuxième période, chaque période de prolongations et avant la mort-subite). À la fin des 30 secondes, on donnera le signal sonore de début de jeu.
L'arbitre principal fait reprendre le jeu 30 secondes après qu'un but a été marqué, ou plus tôt si l'équipe qui a marqué le but est prête. Aucun avertissement des 30 secondes n'est donné.
Si pour une raison quelconque, le jeu reprenait avant que tous les joueurs aient regagné leur ligne de but, ces derniers doivent nager jusqu’à leur ligne de but, la toucher avant de reprendre le jeu. La main qui touche le mur doit être visible de l’arbitre principal.
Si le jeu est interrompu pour une infraction aux règles, un temps mort, un accident ou une blessure, il sera relancé par l'arbitre principal.
- Remplacement
Il y a 3 méthodes pour les remplacements de joueurs au cours des compétitions: remplacement sur un bord latéral, remplacement latéral dans l'eau et remplacement aux extrémités. Une seule méthode peut être choisie pour une compétition donnée.
Le ou les joueurs remplaçants ne peuvent entrer dans le match avant que le ou les joueurs sortant soient entièrement sortis de l’eau selon les règles EXCEPTE après un but. Durant le match, après qu'un but a été marqué, tous les joueurs peuvent entrer et quitter l'aire de jeu sans souci pour le nombre de joueurs dans l'aire de jeu. Une fois que le jeu a recommencé, pas plus que 6 joueurs de chaque équipe ne peuvent être dans l'aire de jeu.
Quand un joueur quitte le terrain en dehors de sa zone des remplaçants, il est toujours considéré comme faisant partie des 6 joueurs dans l'eau. Il peut regagner le terrain à sa guise en dehors des temps d'arrêt de jeu.
- Remplacement sur le côté, hors de l’eau
Pour les Championnats du Monde, les remplacements sur le côté sont les seuls autorisés.
Les deux zones des remplaçants d'équipe doivent être du même côté du terrain de jeu, marquées sur le bord de la piscine, et visible aussi bien dessus que dessous la surface de l'eau. L’emplacement privilégié pour les zones des remplaçants est situé en face de l'arbitre principal et de la table de marque, ainsi on peut facilement observer les remplacements.
Les deux zones des remplaçants doivent être visibles du terrain de jeu, de la surface et sous l'eau.
La ligne de touche, qu’elle soit un mur de piscine ou une barrière, peut être contiguë aux zones des remplaçants d'équipe. Il pourra également y avoir une zone neutre entre le terrain de jeux et les zones des remplaçants d'équipe. Une zone neutre de un mètre de large est optimum.
Des variations de configuration des piscines exigent de la flexibilité. Des adaptations aux règles de remplacement peuvent être nécessaires. Ces changements sont à la discrétion du Directeur de Compétitions.
La zone des remplaçants de chaque équipe sera une zone de 5 mètres située entre 5 mètres et 10 mètres de la ligne de but comportant le but défendu par l'équipe.
On considère qu’un joueur sortant du terrain de jeux est entièrement dans la zone des remplaçants de l’équipe quand il est entièrement sorti de l'eau en pénétrant à l’intérieur de la zone des remplaçants.
Un remplaçant ne peut pas entrer dans le terrain de jeux avant que le joueur sortant soit entièrement sorti de l'eau. On considère que le remplaçant a quitté la zone des remplaçants de l’équipe quand il a pris contact avec l'eau dans le terrain de jeux.
Les remplaçants ne peuvent pas s'asseoir avec les jambes ou les palmes dans l'eau.
Les remplaçants qui entrent dans le jeu peuvent sauter ou plonger la tête la première. Cependant, pour des raisons de sécurité, saut ou plongeon sont interdits quand un joueur ou un arbitre aquatique est à moins de 3 mètres du point de chute. A moins de 3 mètres, le remplaçant doit se laisser glisser dans l'eau. Un temps de pénalité sera donné pour infraction à cette règle. Aucun avertissement ne sera donné. Cette règle s'applique à tout moment entre le début et la fin d'un match.
Quand les remplaçants entrent dans l’aire de jeu après un but ou après un tir de pénalité, ils doivent toucher leur ligne de but respective avant de rentrer dans le jeu, à moins que le jeu ait repris et que le palet soit "en possession".
Les 4 remplaçants peuvent être utilisés pendant le cours du match, c'est à dire, remplacement pendant le jeu ou pendant tout arrêt du jeu, par exemple, sortie du palet en touche, pénalité, but, temps-mort ou pause à la mi-temps.
Un, deux, trois ou quatre joueurs peuvent être remplacés dans le même temps.
Le remplaçant qui commet une faute (celui qui entre dans le terrain de jeu) sera sanctionné d’une pénalité de 2 minutes. L’équipe jouera avec autant de joueurs en moins qu’il y a de remplaçants pénalisés.
Quand l'arbitre principal ne peut pas déterminer le joueur fautif, il demandera au capitaine de l'équipe fautive de désigner le joueur fautif. Le capitaine ou le vice-capitaine a 5 secondes pour le faire. Si le capitaine, ou le vice-capitaine n'indique aucun membre de son équipe pendant cette période, le capitaine sera envoyé dans la zone de pénalité pour y subir la pénalité.
Les arbitres n'attendront pas que les remplaçants reprennent leurs places pour le coup-franc.
Les joueurs qui ont quitté l'eau pour permettre à un remplaçant d'y entrer deviennent eux-mêmes remplaçants et doivent attendre dans la zone des remplaçants de l’équipe, jusqu'à ce qu'ils soient sollicités.
- Remplacement sur le côté dans l’eau
Les deux zones des remplaçants d'équipe doivent être délimitées du même côté du terrain de jeu. L’emplacement privilégié pour les zones des remplaçants d'équipe est situé en face de l'arbitre principal et de la table de marque, ainsi on peut facilement observer les remplacements.
De préférence, la ligne de touche ne devra pas être contiguë aux zones des remplaçants. Une zone de transit de un mètre de large entre le terrain de jeu et les zones des remplaçants est optimum.
La zone des remplaçants de chaque équipe sera une zone de 5 mètres située entre 5 mètres et 10 mètres de la ligne de but comportant le but défendu par l'équipe.
Une ligne flottante en surface marquera le bord de la zone des remplaçants. Il n'y aura pas de ligne flottante au-dessus de la ligne de touche.
Les joueurs ne peuvent pas s’accrocher aux lignes flottantes délimitant les zones des remplaçants d'équipe.
Il est interdit aux joueurs de déplacer les lignes de délimitation pour être avantagés. Si on le fait, on sera pénalisé de 2 minutes pour conduite antisportive. Il n'y aura pas d'avertissement.
On considère qu’un joueur sortant du terrain de jeux est entièrement dans la zone des remplaçants de l’équipe quand son tuba perce la surface de l'eau à l’intérieur de la zone des remplaçants.
Un remplaçant ne peut pas entrer dans le terrain de jeux avant que le tuba du joueur sortant perce la surface de l'eau dans la zone des remplaçants. On considère que le remplaçant a quitté la zone des remplaçants de l’équipe quand son tuba est submergé sous la surface de l'eau dans la zone des remplaçants de l’équipe.
Quand les remplaçants entrent dans l’aire de jeu après un but ou un tir de pénalité, ils doivent toucher leur ligne de but respective avant de rentrer dans le jeu, à moins que le jeu ait repris et que le palet soit "en possession".
Les quatre remplaçants peuvent être utilisés pendant le cours du match, c.-à-d., remplacement pendant le jeu ou pendant tout arrêt normal du jeu, par exemple, sortie du palet en touche, pénalité, but, temps-mort ou pause à la mi-temps.
Un, deux, trois ou quatre joueurs peuvent être remplacés dans le même temps.
Le remplaçant qui commet une faute sera sanctionné d’une pénalité de deux (2) minutes . L’équipe jouera avec autant de joueurs en moins qu’il y a de remplaçants pénalisés.
Quand l'arbitre principal ne peut pas déterminer le joueur fautif, il demandera au capitaine de l'équipe fautive de désigner le joueur fautif. Le capitaine ou le vice-capitaine a 5 secondes à pour le faire. Si le capitaine ou le vice-capitaine n'indique aucun membre de son équipe pendant cette période, le capitaine sera envoyé dans la zone de pénalité pour y subir la pénalité.
Les arbitres n'attendront pas que les remplaçants reprennent leurs places pour le coup-franc.
Les joueurs qui ont quitté l'eau pour permettre à un remplaçant d'y entrer deviennent eux-mêmes remplaçants et doivent attendre dans la zone des remplaçants de l’équipe, jusqu'à ce qu'ils soient sollicités.
- Remplacement aux extrémités
C'est la forme la moins souhaitable pour les remplacements lors des compétitions et elle sera SEULEMENT utilisée quand le remplacement sur les côtés ne peut pas être employé. Elle NE SERA JAMAIS utilisée pour les Championnats du Monde.
La ligne de but du terrain de jeu doit être contiguë aux zones des remplaçants. Il ne pourra pas y avoir de zone neutre entre le terrain de jeu et les zones des remplaçants d'équipes.
La zone des remplaçants d'équipe est située derrière la ligne de but comprenant le but défendu par l'équipe.
On considère que le joueur sortant du terrain de jeu est entièrement dans la zone des remplaçants de l’équipe, quand il est entièrement sorti de l'eau à l’intérieur des limites de la zone des remplaçants.
Un remplaçant ne peut pas entrer dans le terrain de jeu avant que le joueur sortant soit entièrement sorti de l'eau. On considère que le remplaçant a quitté la zone des remplaçants de l’équipe, quand il a pris contact avec l'eau dans le terrain de jeu.
Un remplaçant ne peut pas s'asseoir avec ses jambes ou ses palmes dans l'eau.
Les quatre remplaçants peuvent être utilisés pendant le cours du match, c.-à-d., remplacement pendant le jeu ou pendant tout arrêt normal du jeu, par exemple, sortie du palet en touche, pénalité, but, temps-mort ou pause à la mi-temps.
Un, deux, trois ou quatre joueurs peuvent être remplacés dans le même temps.
Le remplaçant qui commet une faute sera sanctionné d’une pénalité deux (2) minutes. L’équipe jouera avec autant de joueurs en moins qu’il y a de remplaçants pénalisés.
Quand l'arbitre principal ne peut pas déterminer le joueur fautif, il demandera au capitaine de l'équipe fautive de désigner le joueur fautif. Le capitaine ou le vice-capitaine a 5 secondes à pour le faire. Si le capitaine ou le vice-capitaine n'indique aucun membre de son équipe pendant cette période, le capitaine sera envoyé dans la zone de pénalité pour y subir la pénalité.
Les arbitres n'attendront pas que les remplaçants reprennent leurs places pour le coup-franc.
Les joueurs qui ont quitté l'eau pour permettre à un remplaçant d'y entrer deviennent eux-mêmes remplaçants et doivent attendre dans la zone des remplaçants de l’équipe, jusqu'à ce qu'ils soient sollicités.
- Arrêt du jeu
Le signal d'arrêt de jeu chronométré est donné par l'arbitre principal, d'après les indications du chronométreur, selon lesquelles le temps de la période est écoulé.
Le jeu est aussi arrêté par l'arbitre principal :
- Lorsqu'un but est marqué.
- Lorsqu'une infraction aux règles est commise.
- Lorsque survient un accident ou une blessure.
- Lorsqu’il y a un besoin de consulter les arbitres aquatiques.
- Lorsque survient une circonstance fortuite pour laquelle l’arbitre principal juge qu'il est approprié d'arrêter le jeu.
- Quand un tir de pénalité est accordé.
Le chronomètre n'est pas arrêté sauf indication contraire de l'arbitre principal.
- Conditions pour qu'un but soit validé
Un but est marqué lorsque le palet en entier est entièrement entré dans le volume du but et lorsqu'il a touché soit la paroi arrière ou le fond du but, en ayant été propulsé ou lancer par une crosse. Si le palet entre dans le volume du but poussé par autre chose que la crosse, il sera refusé et la sanction appropriée pour infraction aux règles sera appliquée.
Le volume du but est le volume dont la largeur est: 120 mm de la ligne de but du terrain de jeu, à l’arête antérieure de la cuvette, 180 mm de hauteur sur 3 m de longueur, le long de la cuvette de but.
8 diagrammes identifiés de "A" à "H" dans la Figure "BUT" représentent des illustrations de buts marqués. Dans ceux-ci, le palet est entièrement entré dans le volume du but, et il a touché, soit la paroi arrière, soit le fond de la cuvette du but. 5 diagrammes identifiés de "I" à "L" et "O" dans la Figure "BUT REFUSE" représentent des illustrations de buts non marqués. Dans ceux-ci, le palet n'est pas entièrement entré dans le volume du but. 2 diagrammes identifiés de "M" à "N" dans la Figure "BUT REFUSE" représentent des illustrations de buts non marqués. Dans ceux-ci, bien que le palet soit entré entièrement dans le volume du but, il n'a touché ni la paroi arrière ni le fond de la cuvette du but.
Dans le cas d’un palet passant derrière le but après avoir touché une paroi du BUT, il n’y a pas but.
- Jeu irrégulier
- Règle de l’Avantage
A tout moment du match, si un arbitre remarque une faute contre l’équipe en possession, mais décide que cette infraction n'affecte pas l'avantage de l'équipe en possession, On laissera le jeu se poursuivre comme si la faute n'avait pas eu lieu.
Si une infraction est observée et que la règle de l'avantage est appliquée, une fois que l'avantage est perdu ou à l'arrêt de jeu suivant, l'arbitre peut attribuer une pénalité a posteriori.
Cadre d’application de la règle de l’avantage :
- Laisser l’avantage le temps de l’action (en cours) du joueur en possession.
- L’avantage s’applique même lors d’une faute grave (pour ne pas empêcher un but); la sanction est infligée après l’action.
- Retarder le jeu (règle du coin)
Dans le coin, si les arbitres estiment que les joueurs cherchent à gagner du temps ou qui tendent à retarder le jeu, alors ils peuvent considérer cela comme un jeu déloyal.
L'arc de cercle fait partie du coin, et dès que le palet touche l'arc, la règle du coin s'applique.
"Le coin" est défini comme cette partie de l'aire de jeu délimité par la ligne de touche et la ligne de but en un arc de cercle de 1 mètre de rayon dont le centre est à l'intersection (ou l'intersection projetée dans le cas d'un coin courbé) de la ligne de touche et la ligne de but. Il y a quatre 'coins' dans une seule aire de jeu et une pénalité pour retarder le jeu peut être appliquée contre l'une ou l'autre équipe dans n'importe lequel de ces quatre coins.
Si deux membres de la même équipe maintiennent le palet dans un coin en se succédant sans que l’un ou l’autre joueur ne tente réellement de sortir le palet du coin ou qu’un joueur de l'équipe adverse ne prenne possession du palet, l'arbitre arrêtera le jeu et donnera un coup franc contre l’équipe fautive. L'équipe fautive recevra un avertissement (1ère infraction) et pour toutes les infractions suivantes le deuxième joueur qui maintient le palet dans le coin sera pénalisé de 2 minutes de prison.
Si un joueur envoie délibérément le palet hors du terrain, l'arbitre arrête le jeu et donne un coup franc contre l'équipe fautive. Le joueur fautif sera sanctionné d’une pénalité. Si un palet suite à un tir est détourné par la crosse ou le corps d'un coéquipier et sort des limites du terrain de jeu, ce ne sera pas considéré comme une faute à moins que, selon l'opinion de l'arbitre, la déviation ne soit une manoeuvre voulue pour gagner du temps ou retarder le jeu.
- Infractions
Les joueurs peuvent être pénalisés pour les infractions aux règles suivantes :
- Démarrer le jeu incorrectement selon ces règles.
- Se tenir debout sur le fond du bassin de manière à gêner le jeu pendant le match.
- Infractions pour retarder le jeu.
- Avoir plus de 6 joueurs dans l'eau pendant que le match se joue ou permettre à un remplaçant d'entrer dans l'eau pour remplacer un joueur sorti pour un temps de pénalité ou un joueur expulsé pour le reste de la partie, EXCEPTE après qu’un but soit marqué, avoir plus de 6 joueurs d’une même équipe dans l’eau est alors permis.
- Déplacer ou tenter de jouer le palet avec autre chose que la surface de jeu de la crosse.
- Manier le palet avec la main libre ou avec celle qui joue, ceci inclut le guidage du palet avec un doigt tendu. (Si le palet touche accidentellement le dos de la main qui joue, cela ne sera pas considéré comme une faute sauf si cela est utilisé délibérément pour déplacer le palet)
- Lever ou porter le palet en équilibre sur la crosse.
- Faire obstruction sur un adversaire de façon quelconque, quand on n'est pas en possession du palet.
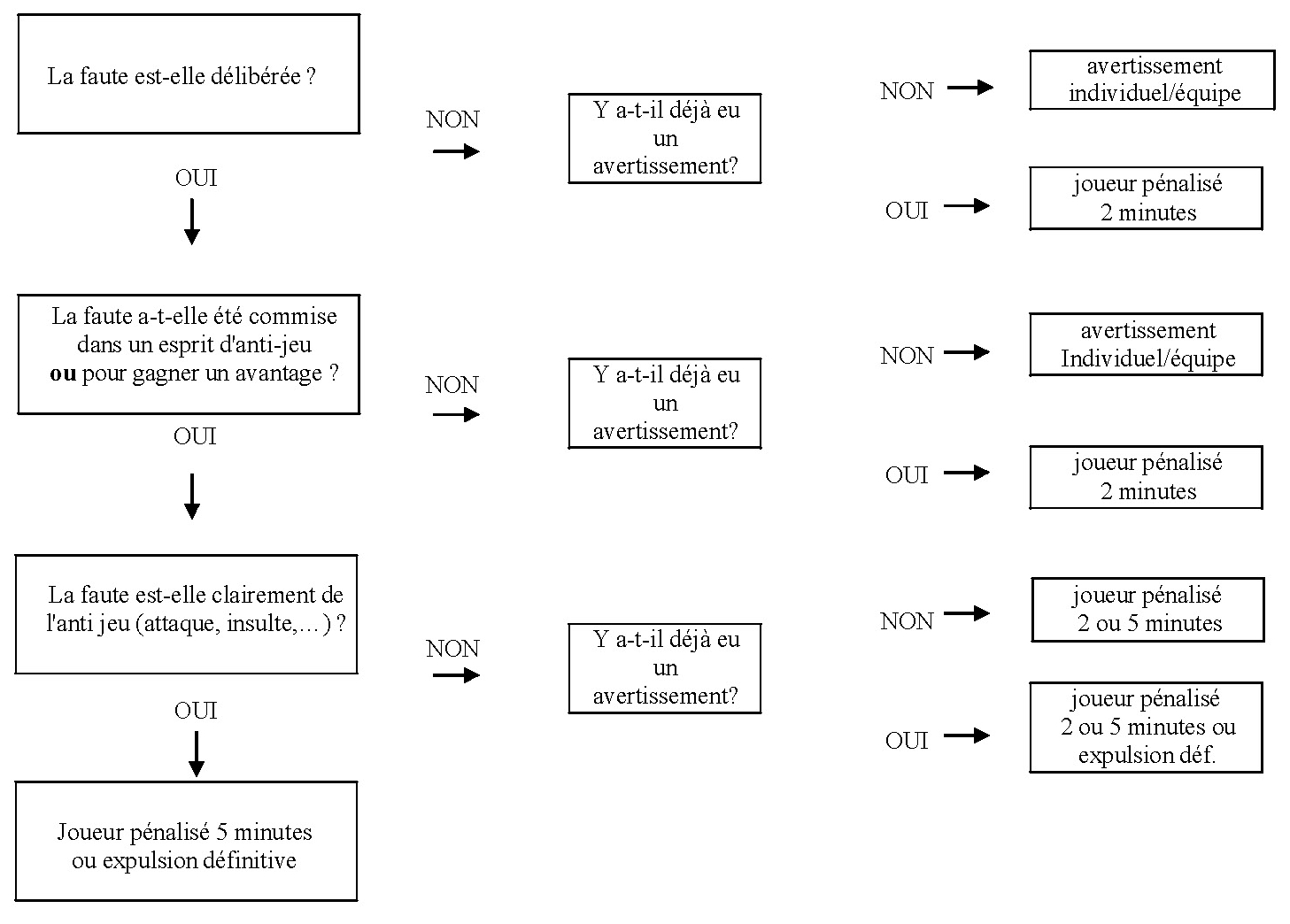
- Se comporter ou se conduire d'une façon qui, de l'avis des officiels, peut être considérée comme étant contraire à l'esprit sportif d'une rencontre.
- Empêcher ou tenter d'empêcher un but avec autre chose que la surface de jeu de la crosse.
- Couvrir ou cacher le palet avec une partie quelconque du corps ou de l'équipement lorsque l'on n'est pas en possession pour empêcher son accès aux autres joueurs.
- Tenter d'entrer en possession du palet en utilisant l'obstruction.
- L'utilisation d'une forme "active" d'obstruction pour empêcher un adversaire de prendre possession du palet, même si le joueur fautif est en possession du palet; c.-à-d. en utilisant son bras libre "en verrouillage" pour maintenir l'adversaire loin du palet, ou en remorquant le palet en le protégeant avec son corps tout en utilisant son corps pour "pousser" l'adversaire hors du chemin, quand il essaie de prendre le palet. Nota: tourner avec le palet en possession, ou reculer simplement le palet en le passant sous le corps pendant que le joueur ne se déplace pas, n'est pas considéré comme une obstruction tant que le palet reste contre la crosse du joueur.
- Utiliser les mains, les bras ou le corps d'une quelconque façon, pour accrocher, tirer ou pousser un adversaire ou sa crosse.
- Enlever ou tenter d'enlever l'équipement d'un adversaire.
- Insulter par des mots ou par des gestes les joueurs ou les officiels.
- Refuser d'accepter une décision quelconque des officiels.
- Attaquer physiquement ou blesser délibérément un adversaire, frapper ou tenter de frapper un adversaire avec une partie quelconque du corps ou de l'équipement. Ceci incluant toute action de représailles.
- Le fait de saisir ou tenir la barrière ou le but pour gagner un avantage.
- Se servir illégalement de son bras libre.
- Retirer le palet des buts.
- Jeu dangereux.
- Sortir de la zone de pénalité illégalement.
- Lors d'un match, si une équipe commet un anti-jeu grave (mettre volontairement un but contre son équipe, refuser de jouer malgré le fait que les joueurs de l'équipe soient dans l'eau, ou toutes autres formes d'anti-jeu jugées graves par les arbitres), les arbitres doivent arrêter le match, il sera considéré FORFAIT par l'équipe fautive. Des sanctions supplémentaires seront éventuellement appliquées par la CNHS.
- Pénalités
- Actions des officiels
Quand une infraction aux règles survient, le jeu est arrêté par l'arbitre principal. Le jeu est arrêté quand l'arbitre principal voit le signe "arrêt de jeu" fait par un arbitre aquatique, ou si l'arbitre principal voit l'infraction de sa position.
En fonction de la gravité de la faute, les arbitres ont à leur discrétion et à leur totale disposition les actions suivantes pour pénaliser les joueurs fautifs. Ils peuvent :
- Avertir les joueurs fautifs.
- Expulser de l'eau les joueurs fautifs pour un temps de pénalité de 2 ou 5 minutes. (Le refus d’obtempérer d’un ou de plusieurs joueurs lors d’expulsion(s) doit obligatoirement être sanctionné : 2mn devient 5, 5 devient définitive, définitive peut entraîner l’arrêt du match après avertissement au capitaine de faire respecter les décisions des arbitres)
- Expulser de l'eau les joueurs fautifs pour le reste du match
En plus de la pénalisation des joueurs fautifs ou comme alternative, les arbitres ont à leur discrétion et à leur totale disposition les actions suivantes pour pénaliser les équipes fautives. Ils peuvent :
- Accorder un ENTRE-DEUX, on accorde l'avantage à aucune équipe
- Accorder un COUP-FRANC contre l'équipe fautive
- Accorder un TIR DE PÉNALITÉ si la faute est commise dans la zone des 3 mètres du but
- Accorder un BUT DE PÉNALITÉ contre l'équipe fautive
Quand une infraction aux règles est commise par un remplaçant ou par un officiel de l'équipe qui est au bord de la piscine, ils peuvent aussi se faire pénaliser de façon adéquate par les arbitres, c.-à-d., un remplaçant peut être sanctionné de la même manière qu'un joueur. Un remplaçant pénalisé doit purger sa peine dans la zone de pénalité. En plus, l'équipe doit retirer un joueur de l'eau de façon à jouer en infériorité numérique pendant la durée de la pénalité.
Dans le cas ou plusieurs fautes successives sont commises par les 2 équipes, l’arbitre arrête le jeu, sanctionne les joueurs fautifs et fait reprendre le jeu sur la 1re faute.
- Avertissement
Pour des infractions mineures ou accidentelles ou toute autre raison jugée nécessaire par les arbitres, une fois le jeu arrêté, les arbitres peuvent avertir verbalement les équipes ou les joueurs concernés.
Une fois que les équipes ou les joueurs fautifs ont été avertis, les arbitres indiquent si le jeu doit reprendre par un entre-deux ou un coup-franc.
Dans le cas où un joueur ou une équipe serait averti pour avoir quitté la ligne de but avant que le signal de départ ait été donné, le palet restera placé au centre et le jeu sera redémarré en accord avec la Règle.
- Expulsion temporaire
Pour des infractions majeures ou des infractions mineures collectives, une fois que le jeu a été arrêté, l'arbitre enverra les joueurs fautifs en zone de pénalité pour y purger un temps de pénalité de 2 ou 5 minutes.
Les temps de pénalité sont indiqués par l’arbitre qui a stoppé le jeu, en désignant du doigt les joueurs fautifs puis la zone de pénalité, et en levant les doigts de la main libre pour indiquer le temps de pénalité réel, qui doit être purgé.
Le temps de pénalité commence réellement lorsque le fautif est assis sur la chaise de pénalité, qui est située près de la table du chronométreur, et que l’arbitre principal a redémarré le jeu. Si le chronomètre du match est arrêté, le chronomètre de pénalité est également arrêté, et redémarrera quand le chronomètre du match redémarrera.
Le chronométrage du temps d'expulsion est à la charge du chronométreur sous la responsabilité de l’arbitre principal.
Pendant un temps-mort ou pendant le repos entre les périodes de jeu (mi-temps, avant les prolongations), les joueurs purgeant une pénalité de temps (à l'exception des joueurs expulsés définitivement) peuvent rejoindre leur équipe dans l'eau.
Le chronométrage du temps d'expulsion est placé sous la responsabilité du chronométreur.
Avant de regagner l'eau sur la ligne centrale, les joueurs fautifs purgeant une expulsion temporaire doivent attendre le signal indiquant l'expiration du temps d’expulsion. Le signal est donné par l'arbitre principal.
Un joueur expulsé doit regagner le jeu en glissant gentiment dans l'eau, pieds en premier en partant d'une position assise, à la ligne centrale. Une entrée fautive est pénalisée de 2 minutes.
Si le temps de pénalité s’achève pendant un arrêt du jeu, les joueurs ne peuvent pas entrer dans l’eau avant que l’une des équipes touche le palet.
Le joueur fautif expulsé doit attendre le signal de l'arbitre principal, indiquant l'expiration du temps d'expulsion avant de retourner dans l'eau à la ligne centrale. Au signal du chronométreur, il pourra quitter sa chaise et s'asseoir sur le bord du bassin, sans gêner le jeu, et y attendre l'autorisation de l'arbitre principal.
Une fois qu'on a indiqué aux joueurs fautifs de quitter l'eau, l'arbitre qui a arrêté le jeu indique si le jeu reprend par un entre-deux, un coup-franc ou un tir de pénalité.
- Expulsion définitive
Une fois que le jeu a été arrêté, pour une infraction majeure délibérée ou un comportement antisportif répété, les arbitres expulseront les joueurs fautifs de l'eau pour le reste du match, ce qui inclut la période de prolongation.
Une expulsion définitive est indiquée par l'arbitre qui a arrêté le jeu, en désignant du doigt le joueur fautif puis la zone de pénalité, en déplaçant, dans le même temps, le bras libre sur un arc de 90°, le plat de la main vers le bas juste au-dessus de l'eau.
Un joueur expulsé pour le reste du match doit gagner la zone de pénalité désignée et y rester jusqu'à ce que le match soit terminé. Il ne peut pas être remplacé par un remplaçant
Une fois qu'on a indiqué au joueur fautif de quitter l'eau, l'arbitre qui a arrêté le jeu indique si le jeu reprend par un entre-deux, un coup-franc ou un tir de pénalité.
Dans le cas d'une infraction majeure délibérée ou d'un comportement antisportif répété de la part d'un officiel de l'équipe (directeur, assistant directeur, entraîneur, entraîneur aquatique, médecin officiel, etc.), le jeu sera arrêté et les arbitres expulseront l'officiel du bord du bassin pour le reste du match, ce qui inclut la prolongation, de sorte que l'officiel ne puisse plus interrompre le match ni continuer à diriger, conduire, ou exercer une influence sur l'équipe.
En cas d'une expulsion définitive, les Arbitres du match doivent fournir un rapport au commissaire dès que possible après la fin du match et le commissaire choisira finalement les nouvelles pénalités qui peuvent être appliquées à n'importe quel individu concerné, pour la durée du tournoi.
- Entre-deux
Pour une infraction mineure ou accidentelle ou toute autre raison jugée nécessaire, une fois que le jeu a été arrêté, les arbitres peuvent accorder un entre-deux, sans qu'on accorde l'avantage à aucune équipe.
Un entre-deux est indiqué par l'arbitre qui a arrêté le jeu, par les deux bras croisés au-dessus de la tête avec les poings fermées.
Quand on a accordé un entre-deux, le jeu recommence de la surface comme suit :
- Le palet est placé au point où l'infraction a été commise à condition que cela ne soit jamais à moins de 2 mètres d'une ligne de touche et à moins de 5 mètres d'une ligne de but.
- Deux arbitres aquatiques forment une ligne imaginaire en travers du terrain, alignée sur le palet, et les deux équipes doivent être de chaque côté de la ligne, avec tous les joueurs en surface (c.-à-d. avec les bouts de tuba hors de l'eau). Les joueurs peuvent se positionner n'importe où dans le terrain entre le but qu'ils défendent et la ligne imaginaire.
- Quand la ligne indiquant la position du palet est formée, les arbitres aquatiques indiqueront à l'arbitre principal que le jeu peut reprendre en levant un bras tendu en l'air avec le signe main ouverte.
- Dès que l'arbitre principal signale de reprendre le jeu, un joueur de chaque équipe tentera de prendre possession du palet.
Pour toute infraction aux règles provoquant un arrêt du jeu, selon la gravité de l'infraction, les arbitres peuvent avertir le joueur fautif ou l'équipe fautive ou les deux, accorder un coup-franc contre l'équipe fautive, et octroyer une pénalité de temps ou expulser le joueur fautif.
Pour reprendre le jeu :
- Le palet est placé à l'endroit où la faute a été commise. Néanmoins lorsque la faute a eu lieu loin du palet, le palet est placé à l'endroit où il était lorsque le jeu a été arrêté. Le palet n'est jamais placé à moins de 2 mètres d'une ligne de touche et à moins de 5 mètres d'une ligne de but.
- Deux arbitres aquatiques s'alignent d'abord sur le palet, puis ils lèvent une main comme pour signaler "stop" avec la paume de la main face à l'équipe fautive pour indiquer un coup-franc. Ils nagent sur 3 mètres en s'éloignant du palet, vers l'équipe fautive. Et ils forment une ligne imaginaire en travers du terrain. Tous les joueurs de l'équipe fautive doivent se retirer entre cette ligne et leur but. (Si les joueurs de l'équipe fautive négligent de reculer ou restent du mauvais côté de la ligne formée par les arbitres avant la reprise du jeu, alors, pour ajouter à la pénalité, le palet peut être déplacé de 3 mètres en direction du but de l'équipe fautive)
- Les joueurs de l'équipe bénéficiaire se préparent à prendre possession du palet en se positionnant n'importe où dans le terrain.
- Quand les deux équipes sont en position, les arbitres aquatiques indiqueront à l'arbitre principal que le jeu doit reprendre en levant un bras tendu en l'air avec le signe main ouverte et avec l’autre main indiquant la ligne des 3 mètres.
Une fois que le signal de reprise de jeu a été donné par l'arbitre principal, l'équipe bénéficiaire doit prendre possession du palet dans les cinq (5) secondes après que le signal a été donné.
Si un joueur ne prend pas possession du palet dans les 5 secondes suivant le signal de l'arbitre principal, alors cette équipe perd le coup-franc. Le jeu redémarre ensuite par un entre-deux.
Les joueurs de l'équipe fautive peuvent s'immerger, mais ne peuvent pas franchir la ligne imaginaire avant que l'équipe bénéficiaire ait pris possession du palet.
- Tir de pénalité
Si jamais une infraction quelconque aux règles intervient dans la zone de but des 3 m qui arrête une action de but probable, l'arbitre aquatique signalera à l'arbitre principal d'arrêter le jeu, puis en levant et baissant une main, poing fermé, en faisant l'action de pomper pour indiquer qu'un tir de pénalité est octroyé contre l'équipe fautive. Le chronomètre du match est arrêté. L'arbitre, à sa discrétion, peut également pénaliser les joueurs fautifs par un avertissement, un temps de pénalité ou une expulsion définitive.
Pour préparer un tir de pénalité :
- Le palet est placé directement, face au but de l'équipe fautive, sur le point de pénalité, qui est situé en face du point du milieu de la ligne de but à exactement trois mètres de la ligne de but.
- Le capitaine de l'équipe bénéficiaire choisit 2 attaquants parmi les joueurs et remplaçants éligibles de l'équipe bénéficiaire, et qui sont, au départ, tous les deux en surface et derrière le palet.
- Le capitaine de l'équipe fautive choisit 1 défenseur parmi tous les joueurs et remplaçants éligibles de l'équipe fautive, qui est initialement en surface, près du point milieu de la ligne de but et qui a une main en contact avec le mur de la ligne de but.
- Les joueurs en prison ne sont pas éligibles pour le tir de pénalité, y compris le joueur envoyé en prison pour l'infraction ayant entraîné ce tir de pénalité, ni ceux expulsés définitivement.
- Tous les autres joueurs des deux équipes doivent retourner dans leur zone des remplaçants respective.
- 2 arbitres aquatiques sont positionnés en surface, près de la ligne de but, un à chaque extrémité de la ligne pointillée des 6 mètres limitant la zone de tir de pénalité. Si on utilise un troisième arbitre aquatique, il est positionné derrière les deux joueurs de l'équipe bénéficiaire.
L'arbitre principal, en voyant que tout le monde est bien à sa place, et que les arbitres aquatiques ont une main levée en l'air avec le signal main ouverte pour montrer qu'ils sont prêts au démarrage du jeu, donnera le signal pour que le tir de pénalité soit joué.
Une fois que le signal pour commencer à jouer a été donné, le tir de pénalité se joue comme suit :
- Un attaquant doit prendre possession du palet dans les 5 secondes, l'autre attaquant s'immerge à sa convenance et doit se positionner derrière le palet, tant que le premier attaquant n'a pas pris possession du palet. Si le joueur ne prend pas possession du palet dans les 5 secondes, le tir de pénalité a échoué et est considéré défendu avec succès.
- Une fois qu'un joueur attaquant prend possession du palet, le jeu se poursuit jusqu'à ce que le tir de pénalité soit réglé.
- L'autre attaquant pourra s'immerger; et les deux attaquants essayeront de rester en possession du palet, de marquer un but, de manoeuvrer le palet n'importe où dans la zone de tir de pénalité, et d'empêcher le défenseur de s'emparer du palet pour le faire sortir de la zone de tir de pénalité.
- Si le palet sort complètement hors de la zone de tir de pénalité, soit du fait de l'équipe attaquante, soit du fait du défenseur, le jeu est arrêté et le tir de pénalité sera considéré comme ayant été défendu avec succès. Les arbitres aquatiques feront les signes "Pas de but".
Si l'un des attaquants commet une infraction pendant que le tir de pénalité est en cours, l'arbitre aquatique qui voit l'infraction agira immédiatement en faisant les signes "Pas de but". Le joueur fautif sera informé de son infraction. Le tir de pénalité sera considéré comme ayant été défendu avec succès par le défenseur, c'est à dire que le but n'est pas accordé, même s'il a été marqué avant que l'arbitre ait pu arrêter le jeu.
Si le défenseur commet une infraction pendant que le tir de pénalité est en cours, l'arbitre aquatique qui voit l'infraction agira immédiatement en faisant les signes "but". Le joueur fautif sera informé de son infraction. Le but est accordé.
Le joueur défenseur s'immergera à sa discrétion, et il devra garder une main en contact avec le mur de la ligne de but jusqu'à ce qu'un attaquant ait pris possession du palet; dès ce moment, le défenseur n'a plus besoin de toucher le mur avec une main et il doit essayer, non seulement d'empêcher qu'un but soit marqué, mais aussi de s'emparer du palet pour le propulser complètement au-delà de la ligne pointillée des 6 mètres, c.-à-d. hors de la zone de tir de pénalité.
Les arbitres s'immergeront à leur convenance. Ils s'assureront que l'attaquant entre en possession du palet dans les cinq (5) secondes. Et ils avertiront l'arbitre principal d'arrêter le jeu lorsque le tir de pénalité est finalisé, soit parce qu'un but est marqué soit parce que le palet a été entièrement sorti hors de la zone de tir de pénalité. Les arbitres aquatiques feront la série de signes appropriés: but ou pas but.
Une fois que le tir de pénalité a été joué, que le but ait été marqué ou non, le jeu normal reprendra avec le palet placé au centre du terrain.
Une fois qu'un tir de pénalité a été accordé, il doit être joué, même si le chronomètre du match est arrivé à la fin.
Pendant l'exécution d'un tir de pénalité, le chronomètre du jeu, et les chronomètres des temps de pénalités sont arrêtés. Une fois le but marqué ou défendu avec succès, le chronomètre du jeu, et les chronomètres des temps de pénalités sont remis en marche par l'arbitre principal.
- But de pénalité
Pour une infraction grave au règlement commise n'importe où dans le terrain (spécialement dans la zone des 3 m), et quand, selon l'opinion d'un arbitre un but presque certain aurait été marqué, une fois que le jeu a été arrêté, les arbitres peuvent accorder un but de pénalité à l'encontre de l'équipe fautive et délaisser le tir de pénalité. Exemple de ce type d'infractions :
- Toute faute qui empêche le palet d'entrer dans le volume de but, ou qui empêche un but quasi certain d'être marqué.
- Faute du défenseur pendant un tir de pénalité.
- Changement illégal pendant un contre allant au but.
- Faute grave sur un joueur en possession ayant une ouverture vers le but. (c.-à-d. attraper le joueur en possession du palet pour empêcher qu'il marque le but).
- Sortir le palet du but irrégulièrement.
Un but de pénalité est indiqué par l'arbitre aquatique, par un arrêt de jeu, puis en levant et baissant une main fermée en poing, dans un mouvement de pompage, suivi de la levée des deux mains au-dessus de la tête.
Quand un but de pénalité a été accordé, le jeu normal reprendra avec le palet placé au centre du terrain. Aucun signal des 30 secondes n'est donné.
- Sortie en touche ou palet sorti des limites du terrain
Si le palet sort complètement de l'aire de jeu, l'arbitre arrêtera le jeu et accordera soit un entre-deux soit un coup-franc. Démarrer sur un entre-deux sera fait si, à l'avis de l'arbitre, les deux équipes ont contribué dans la sortie du palet. Dans tous les autres cas, le dernier joueur qui a touché le palet de sa crosse avant que le palet ne passe à l'extérieur l'aire de jeu sera considéré comme le joueur fautif et on attribuera un coup franc à l'équipe opposée. Une pénalité pour retarder le jeu peut aussi être donnée dans cette situation.
Le palet est placé à 2 m de l'endroit où il est sorti, excepté quand il est sorti à moins de 5 m d'une ligne de but, auquel cas il sera placé à 5 m de la ligne de but et à 2 mètres de la ligne de touche.
- Départs incorrects
Commencer le jeu en avance ou partir avant le signal.
- Sur un départ : Coup-franc au centre du terrain de jeux pour l'autre équipe.
- Sur un entre-deux : Coup-franc pour l'autre équipe.
- Sur un coup-franc (faute des défenseur) : Reculer le palet de 3 m (si cela arrive à 5 m de la ligne de but, déplacer alors le palet latéralement jusqu’à l'axe du terrain).
- Sur un coup-franc (faute des attaquants) : laisser le palet au même endroit , on reprend le jeu sur un entre deux.
- Obstruction
On considère qu'un joueur fait obstruction, quand il fait une action volontaire dans le but de barrer la ligne directe entre un autre joueur et le palet.
Cela arrive aussi quand un palet est tiré vers l'avant et que le joueur opposé se retourne sans aller directement chercher le palet.
- Jeu Dangereux
Si l'arbitre aquatique considère que le palet a été délibérément joué d'une façon dangereuse, il expulsera le joueur pour un temps de pénalité de 2 ou 5 minutes, ou il expulsera le joueur pour le reste du match.
On précise que le jeu dangereux sera sanctionné que la faute soit commise sur un partenaire ou un adversaire.










